Задвижки из стали 12х18н10т — это дорогостоящая коррозиестойкая запорная арматура с расширенным диапазоном применения, изготавливаются для особых сложных условий эксплуатации. К таким условиям относятся:
- Условие работы трубопроводной арматуры при повышенном давлении (ТР СТ 032) – условное рабочее давление до 25 МПа.
- Жёсткие климатические условия эксплуатации – исполнение УХЛ (ГОСТ 15150), для умеренного холодного климата с низкой температурой до -60°C.
- Внешне агрессивные условия — повышенная влажность и агрессивная окружающая среда.
- Условия эксплуатации с агрессивными рабочими средами – кислоты, химические растворы, соляные растворы.
- Проводимые среды с высокой скоростью потока и высокой температурой до +565°С.
Все эти условия соблюдены у нержавеющих задвижек 31с45нж и ЗКС 31с77нжс с отличием в конструкции сальниковой камеры уплотнения шпинделя.

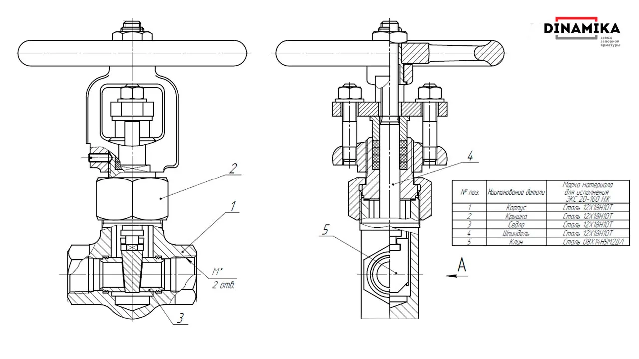
На картинке выше представлены нержавеющие задвижки ЗКС, где слева корпусные детали изготовлены из поковок и конструкция с бугельным узлом уплотнения шпинделя, справа детали изготовлены из прокатной стали того же состава (подробная справка по стали 12х18н10т) и конструкция с внутренним сальником.
Прокатная и кованая сталь имеет повышенную прочность, поэтому применяется в производстве задвижек высокого давления, а коррозиестойкие свойства позволяют применение в условиях с пониженными температурами и повышенной влажностью, к тому же эксплуатационные рабочие среды могут быть высокотемпературными до +565 градусов Цельсия и слабоагрессивными.
|
Общепромышленное обозначение задвижек 12х18н10т |
Условный проход, Ду (мм) |
Давление Ру (кг/см2)
|
Исполнение – сталь 12х18н10т |
Присоединение к трубопроводу |
| 1 |
ЗКС 31нж45нж |
15, 20, 25, 32, 40 |
160, 250 |
Прокатная |
Муфтовое, фланцевое, под приварку |
| 2 |
ЗКС 31нж77нж |
160 |
Кованая |
Характеристики задвижек 12х18н10т:
- Тип трубопроводной арматуры: ЗКС – нержавеющая задвижка компактная (кованая) высокого давления с ручным управлением маховиком, функция на трубопроводе только запорная без регулировки потока.
- Изготовление и поставка: ТУ 3741-003-27844275-2014.
- Климатическое исполнение (ГОСТ 15150): УХЛ (-60°С до +40°С).
- Условное давление сред (Ру): 16 - 250 кг/см2.
- Условный проход (Ду) – 15, 20, 25, 32, 40 мм.
- Исполнение корпусных деталей: нержавеющая конструкционная прокатная или кованая сталь с титаном марка 12х18н10т или сталь с молибденом 10Х17Н13М2Т (ANSI 316Ti) для температур до +565°С (ГОСТ 5632-72).
- Рабочие среды: неагрессивные и слабоагрессивные жидкие и газообразные с температурой от – 40 до +425 градусов Цельсия и до +565°С для сплава с молибденом.
- Герметичность: класс А (ГОСТ 9544-2015).
- Типы присоединений — фланцевое (уплотнительные поверхности по ГОСТ 33259-2015) с комплектацией КОФ и метизом, муфтовое ½ - 1 ½, под приварку.
Параметры надёжности:
- Назначенный срок службы 30 лет;
- Наработка на отказ 800 циклов;
- Установленный средний ресурс 3000 циклов;
- Гарантия 12 месяцев со дня ввода в эксплуатацию;
- Гарантия консервации (масло к-17) — 24 месяца.
Запорная арматура проходит обязательный выходной контроль на герметичность по классу А, поставляется во все регионы РФ и страны Таможенного Союза.
Конструкция задвижки 12х18н10т
Существуют два типа конструкций задвижек из стали 12х18н10т:
- Классическая с бугельным узлом уплотнения шпинделя набивкой ТРГ. Такая конструкция массовая в производстве, используется для задвижек в исполнении из поковок (кованая сталь).
- С внутренним ТРГ уплотнением шпиндель/корпус – используется в производстве ЗКС из прокатной стали, либо в смешанном варианте изготовления из поковок и прокатной стали.
Также эти конструкции разделяются на три по присоединению к трубопроводу:
- Муфтовые задвижки ЗКС — резьбовое присоединение ½ - 1 ½ дюйма.
- Фланцевые задвижки – присоединение фланцами с КОФ стяжное по ГОСТ 33259-2015.
- Приварные задвижки – присоединение сварным методом в стык.
Для общего понимания подетального состава конструкции ниже представлен эскиз-чертёж, наиболее популярной конструкции муфтовой задвижки Ду15 с бугельным узлом, резьбовое присоединение М20х1,5 или G ½.

Особенности – пояснения конструкции по эскизу-чертежу:
- Корпус – исполнение из поковки стали 12х18н10т, что позволяет выдерживать повышенные давления проводимой среды.
- Крышка – стяжной элемент конструкции соединяет верхнюю часть и корпус ЗК.
- Седло – отдельная деталь затвора установлена резьбовым методом в корпус, является частью уплотнения затвора (металл по металлу).
- Шпиндель – управляющий шток выдвижной конструкции, при открытии задвижки увеличивается строительная высота на размер проходного сечения.
- Клин – затвор клиновидного типа в исполнении из цельного обожжённого металлопроката высокопрочной стали.
Верхняя управляющая затвором часть ЗКС 12х18н10т представляет собой стойку с бугельным узлом (сальниковая камера уплотнения шпинделя). Уплотнение шпиндель/стойка — термо-расширенный графит (ТРГ) выдерживающий высокие температуры при повышенном давлении.
Размеры изделий запрашивайте заявкой в отдел продаж, работаем индивидуально по каждой заявке с согласованием чертежа.
Альтернативные задвижки по материалам исполнения, аналоги по конструкции: